不干膠的原紙經涂布、壓紋、整飾、復合等后加工,可提高其外觀質量和使用性能。一般來說,對特種紙進行涂布后加工,可以滿足以下需求:改善紙張的表面性能和光學性能,提高紙張的印刷適性;著色和壓花,提高紙的裝飾效果和使用價值。改善紙張的機械性質;作為
特殊涂布紙的預涂層。
涂布是一個連續的生產過程,涂布機中最重要的是涂布頭。涂布頭即涂敷涂料部分。按照涂布機的布置,涂布方式分為機內涂布和機外涂布,機內涂布指涂布機安裝在紙機干燥部之后,在抄紙同時完成涂布操作。機外涂布指的涂布機單獨設置,與紙機分開作業。根據涂布機的不同,主要分為輥式涂布、氣刀涂布、刮刀涂布、浸漬涂布、膜轉移涂布、簾式涂布等。
1、輥式涂布
(1)壓榨輥式涂布頭
壓榨輥式涂布頭由雙輥或三輥組合。兩輥式涂布頭又分為水平輥式、垂直輥式和傾斜輥式2種。壓榨輥式涂布通過間隙上料裝置,控制涂布量。涂布輥將涂料轉移到紙幅上。紙幅上涂料量多少,由涂料與紙幅、涂料對徐布輥的親和力;涂料的粘度;紙幅的吸收性以及紙幅與涂布輥相對速度和輥筒之間壓力等因素決定。該型式徐布可作表面施膠等。

圖片
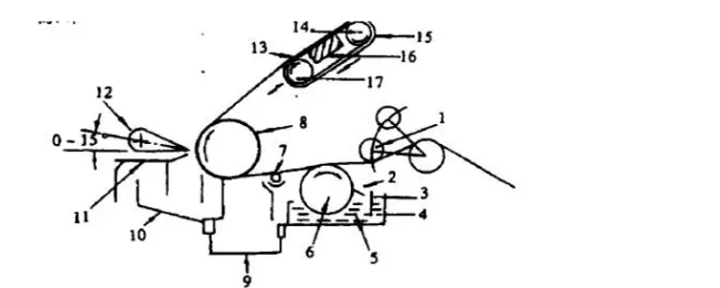
(2)逆轉輥式涂布頭
逆轉輥式涂布頭能計量,能使涂料到紙頁上前被勻整。逆轉輥式涂布機通常由3-4個滾筒構成,各輥均做同向回轉。涂布頭運轉速度較快,可達300m/min。可處理各類涂料(包括溶劑性與高溫熱溶涂料),對涂料粘度、涂布量使用范圍大。此型式可應用于粘膠涂布、聚乙烯醇、壓敏膠涂布等。涂布量控制可通過調節涂布輥和計量輥間隙(一般0.25-0.65mm);也可調節涂布輥與紙幅間相對速度來控制。該型式可生產:自粘標簽紙、熱敏轉移貼花紙,藝術壁紙等。

圖片
(3)凹印輥式涂布頭
該涂布型式具有車速高(可達600m/min)、涂料粘度范圍大(0.01-16Pa·s)涂布量精確等優點。涂布量與凹印輥輥面網點形狀和目數、涂料粘度、固含量、涂布速度、輥之間線壓力以及紙的吸收性和平滑度有關。當原紙和涂料確定之后,線壓力和輥面網點形狀和網線目數是決定因素。缺點是輥筒的網點形狀確定后,對涂料的黏度和流變性要求比較高,同時對網點雕刻的精度要求也較高。該型式常用于生產票證紙、印花轉印紙、防水紙、貼面紙、水松紙等。

圖片
(4)門輥涂布頭
門輥涂布機在國外曾作高速紙機的機內表面施膠,后作機內涂布。涂料固含量可達60%,車速可達900m/min。特點是:涂布輥和內外門輥直徑大、剛性好,可在相對高的車速下涂布。其計量裝置不接觸紙頁,對原紙強度要求較低。缺點是當涂料膜分離時會存在不穩定性,特別是涂布量較高時容易產生橘皮花紋問題。門輥單面涂布量通常為3-8g/m2目前多用于低定量涂布印刷紙。

圖片
2、氣刀涂布
該涂布型式是應用最普遍的一種,適應性廣。工作原理是由涂布輥將過量的涂料涂布于原紙表面上,然后利用氣刀噴射出的氣流將多余的涂料吹去,達到所要求的涂布量,同時將涂層吹勻。吹落的涂料隨氣流進入涂料收集槽,經處理后循環使用。涂布量取決于氣刀與紙幅的距離(一般刀距2-8mm)、角度、氣刀風壓、運紙速度和涂料粘度等。一般車速可達100--400m/min,涂布量10-20g/m2,涂料粘度50-400mpa·a,固含量30-50%。其優點:對原紙適應性強,不管原紙橫幅定量波動或表面不平整,都能使涂層達到均勻、平滑,操作容易;涂布量大,有利提高涂層表面質量;適應涂料粘度不同要求。由于氣刀氣流能量有限,僅適用生產低固含量、粘度較低涂料。另外氣刀高壓空氣需凈化。此型式涂布頭適用于生產涂布印刷美術紙、涂布紙盒紙板、無碳復寫紙、照相紙、藝術充皮紙等等。

圖片
3、刮刀涂布
該涂布型式已成為主要涂布方式之一。與氣刀涂布相比,固含量高(可達50-70%),干燥效率高,車速高,產品質量好,涂層表面不受原紙粗糙度影響,平滑度高。刮刀涂布有:硬刃刮刀、軟刃刮刀和刮輥式。刮刀涂布的原理是利用上料輥或涌泉式系統向原紙上轉移足夠多的涂料,然后利用刮刀進行計量和整飾。
硬刃刮刀,將過量涂料從紙面上刮下,使徐層平滑。控制涂布量精度低,涂層易出現刮刀條紋。適用車速較低,涂布量較大的紙張涂布。
軟刃刮刀涂布頭,有拖刀式、斜角軟刃刮刀等型式。一般車速達300-600m/min;涂布量8-25g/m2;涂料粘度達1-5pa·s;固含量50-70%。刮刀用0.27-0.65mm彈簧鋼制成,刀與襯輥切點夾角于60°,通常取45°。
刮輥式,多用于有機溶劑涂布和二次涂布時的底涂。刮輥安裝在特殊支架,刮掉多余涂料。刮輥通常為鍍鉻細鋼棒,直徑3-10mm,旋轉速度10-20r/min。可消除刮刀口易夾留雜質的缺點,但涂布量小。

圖片
4、浸漬涂布加工
浸漬涂布加工是使原紙浸漬吸收膠乳、樹脂、油類等化工藥劑,使紙張獲得防水、防火、耐磨、增強、防潮、絕緣等特殊性能要求。
下圖是常用淺盤式浸漬槽。浸漬輥、槽均用不銹鋼制作,防銹。槽或輥可升降,便于引紙。擠輥由膠輥和鍍鉻輥組成,壓力可調。膠輥需作離型處理,防乳膠粘輥。含浸后進入干燥部。為防止進入干燥部粘烘缸。可先用遠外紅線預熱,后進入烘缸部。烘缸組的第一個烘缸也須作離型處理(鍍鉻或包特氟龍處理)。

圖片
5、膜轉移式涂布
發展最好的涂布方式之一。計量的涂料以均一的薄膜形式轉移到上料輥表面,通過輥壓再轉涂到原紙,并引入密封刮刀和刮棒技術。優點:對紙幅作用力低、涂層覆蓋性好。缺點:計量棒壓區涂料飛濺及轉移區涂料霧化、會產生橘皮紋等。
6、簾式涂布
是非接觸式涂布,涂布量由供料泵的流量直接控制。優點:機械結構簡單,活動部件少,操作維護費用低;仿形涂布效果好,涂層均勻,有利于在低涂布量下實現高的涂布質量。對原紙強度要求低,生產效率高。運行固含量可達65%,可在涂布速度1400-2000m/min下穩定運行。運行成本低。可應用于噴墨打印紙、熱敏紙、無碳紙、不干膠標簽等。缺點:不易實現低車速低涂布量,涂料抗拉伸形變不足,涂料含氣量不易控制等。